9급 국가직 공무원 토목설계 (2009년04월11일 기출문제)
1과목 : 과목 구분 없음
1번
철근의 이음에 관한 설명으로 옳지 않은 것은?
2번
우리나라 도로교 설계 시 적용하는 표준트럭에 관한 그림이다. 옳은 것은? (단위: cm) (순서대로 ㉠, ㉡, ㉢, ㉣)

3번
철근콘크리트 보의 설계에서 철근의 간격에 대한 설명 중 옳지 않은 것은?
4번
그림과 같은 단철근 직사각형보에 균열이 발생하여 중립축의 깊이가 200 mm가 된 경우 균열단면의 단면2차모멘트 계산식으로 옳은 것은? (단, 탄성계수비 n=7)

5번
지간 8m인 단순보에 고정하중에 의한 등분포하중 20.0 kN/m와 활하중에 의한 등분포하중 25.0 kN/m만 작용할 때 현행 기준 (콘크리트구조설계기준, 2007)에 따라 휨부재를 설계하는 경우 계수휨모멘트[kNㆍm]는?
6번
복철근보와 단철근 T형보에 대한 설명으로 옳지 않은 것은?
7번
SD400철근을 사용한 단철근 직사각형보에서 인장지배단면에 대한 설명으로 옳은 것은?
8번
그림과 같은 보통 중량콘크리트를 사용한 철근콘크리트 테두리 보의 균열비틀림모멘트 Tcr[kNㆍm]은? (단, fck=29.16 MPa, √39.16=5.4)

9번
전단마찰철근의 단면적이 4,000mm2이고, 설계기준항복강도가 300MPa이다. 전단마찰철근이 예상균열면에 수직한 경우 공칭전단강도[kN]는? (단, 일체로 친 일반 콘크리트이다)
10번
폭 b=300mm, 유효높이 d=400mm인 단철근 직사각형보에서 콘크리트에 의한 공칭전단강도[kN]는? (단, fck=36MPa)
11번
띠철근으로 D10을 사용하는 기둥에서 축방향 철근으로 D29를 4가닥 사용하고, 기둥단면의 크기가 가로 400mm, 세로 300mm 일 때 시방서(콘크리트구조설계기준, 2007)규정에 따른 띠철근의 최대 수직간격[mm]은?
12번
연속보 또는 1방향 슬래브가 2경간 이상, 인접 2경간의 차이가 짧은 경간의 20% 이하, 등분포하중 작용, 활하중이 고정하중의 3배를 초과하지 않고, 부재의 단면이 일정하다는 조건으로 휨모멘트를 근사식으로 구하고자 한다. 다음 중 옳지 않은 것은? (단, wu: 등분포하중, ln: 지간)
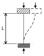
13번
장주의 유효좌굴길이를 구하고자 한다. L이 10m이면 이론적인 유효좌굴길이[m]는? (단, 하단의 구속조건에서 회전은 고정이며 수평변위를 허용하지 않고, 상단의 구속조건에서 회전은 고정이나 수평변위를 허용한다)

14번
역T형 옹벽에 작용하는 하중에 의한 지반반력이 q1=20 kN/m2, q2=10 kN/m2이고, 지반과 옹벽저판 사이의 마찰계수는 0.5이다. 옹벽의 활동에 대한 안정을 만족하기 위한 최대수평력 H[kN]는?

15번
그림은 받침부 사이에 보와 슬래브의 휨강성비 α값이 1.0보다 큰 보가 있는 2방향 슬래브이다. 외부 모퉁이 부분을 현행 기준 (콘크리트구조설계기준, 2007)에 따라 특별 보강철근으로 보강하려고 한다. 보강영역 a, b의 치수[m]가 옳은 것은? (순서대로 a, b)

16번
그림과 같이 긴장재를 직선으로 편심배치(편심=e)한 경우에 보의 밑면에 발생하는 응력의 크기[kN/m2]는? (단, 단면2차모멘트 I : 1m4, 중립축에서 밑면까지 거리 y : 1m, 단면적 A: 2m2, 자중 및 하중에 의한 단면에 작용하는 휨모멘트 M: 50 kNㆍm, 긴장력 P : 100 kN, 편심량 e : 0.1m)

17번
미리 만들어 놓은 PSC부재를 소정의 위치에 가설한 후 나머지 부분을 현장에서 이어쳐서 완성하는 것을 PSC합성구조라 한다. 이 합성구조의 이점으로 옳지 않은 것은?
18번
다음 그림은 프리스트레스트 콘크리트 긴장재의 응력-변형률 곡선이다. 긴장재의 항복점응력(fpy)을 정하기 위하여 사용하는 영구신율 A의 값은?

19번
그림과 같은 용입홈용접에서 목두께 표시가 옳은 것은? (순서대로 ㉠, ㉡, ㉢, ㉣)

20번
다음 그림과 같은 지압형 연결부에 가할 수 있는 최대 허용 인장력[kN]은? (단, M22(B10T)볼트의 허용전단응력: 190MPa, SM490Y강재의 허용지압응력: 360MPa, 볼트는 4개이며 볼트의 간격은 규정을 만족한다고 가정한다)
